カートをみる マイページへログイン(会員登録されたお客様) ご利用案内・発送・決済・運賃等のご案内

ワカホシ株式会社 happy

ハッピー単色インデックス 5山ホワイト HIW-052  222mm×297mm 100枚入

厚口のFSC森林認証用紙を使用した、破れにくく折れにくいインデックスは単色だから無駄なく使えてコストダウン。
レーザープリンター・インクジェットプリンターで簡単に印字して作業効率アップ。
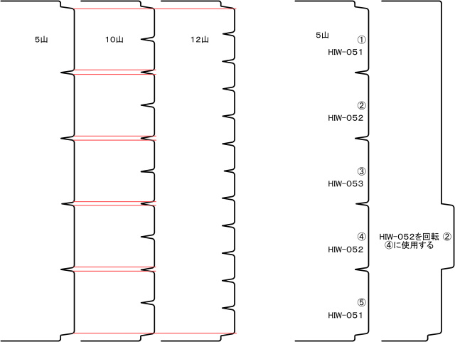
5山の1コマと10山2コマ分が同じピッチですので、5山と10山を一緒に使用する際は山がキレイにそろいます。
また、5山と12山一緒に使用する際は、5山と12山の上部と下部がそろっています。


左側の画像は5山1コマと10山2コマ、また5山と12山の上下      1山と2山は180°回転させると4山・5山
がそろっています。                                  としてご使用いただけます。
                                                               

ハッピー単色インデックス 5山ホワイト HIW-052  222mm×297mm 100枚入

希望小売価格:
6,600円(税込)
価格:

5,280円 (税抜 4,800円、税 480円)

紙厚:0,22mm:
坪量:209,3g/㎡:
1冊/100枚入:
購入数:
返品期限・条件 返品についての詳細はこちら
この商品について問い合わせる

ページトップへ